| Parameter | Spec. | Remark |
|---|---|---|
| Camera | 16k 5㎛ Line CCD | CCD size 81.92 ㎜ |
| Mag. | 0.1~0.5x | manual Zoomed |
| F/# | F/7.4~9.7 | Image NA 0.07~0.05 |
| EFL | 140.1~ 141.1 ㎜ | |
| MTF | 0.25 | @ 100lp/㎜ |
| DOF | ±2.5 ~ ±0.2 ㎜ | Optical DOF @Object |
| Distortion | 0.1 % under | |
| Wavelength | 435 ~ 656 ㎚ | Visible ray |
| FWD | 1491 ~ 370 ㎜ | Object ~ 1st surface |
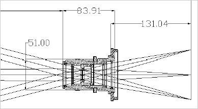
| BWD | 131 ~ 183 mm | Last surface ~ CCD |
| TTL | 1670 ~ 638 ㎜ | Object ~ CCD |
| Size | Φ51 | Adapter Φ99 |
| Iris | Fixed | |
| CCD adapter | Exclusion | Possible |




- Grid Chart

- USAF Chart
